|
 Product Links 
|
|

Inside SRI

|
| SRI-Newsletter |
 |
Subscribe to our newsletter to receive monthly specials, manufacturer's feature, and electronics news via email. |
|
|
|
See Our latest release of SRI-Newsletter here
|
|
View Our List of Archived Newsletter Articles
|
|

SRI Links

|
|
Visit our Sister Site,
 Distributor of Industrial Products
| |
|
Web Search .. Powered by;
|
|
 |
 |
|
|
|
|
Viking Backshell Part Builder
Note: To order backshells separately, use ordering diagram below.
Go to Main Viking Page
Choose Backshell Style
Current Part Selected:
TSR07-201
|
Backshells and Accessories
The THORKOM series includes an assortment of backshells and accessories that provide environmental protection and strain relief protection.
|
 |
Standard Strain Relief Backshell
Viking standard strain relief/protective backshell assembly is easily installed. See page 2 for installation instructions. These strain relief backshells come in gray or black. The 7 and 12 position connectors each accommodate three different cable diameters.
|
Non-Standard Strain Relief Backshell
Long and short cable clamp, tieap and stovepipe backshells can create connector assemblies to be used in a multitude of applications. These backshells will require a factory quotation for prices and delivery.
|

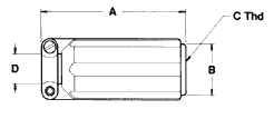
Standard Backshell Dimensions
All dimensions in inches and (millimeters). Tolerance @ .010 (.25) unless otherwise specified.
|
NUMBER OF CONTACTS |
PART NUMBER |
RANGE OF CABLE DIAMETERS |
A ±.010 |
B Dia. ±.010 |
C Thd ±.005 |
D ±.005 |
E Dia. ±.005 |
| 7 |
TSR07-2X1 |
.150/.185 |
1.12 (28.0) |
.572 (14.5) |
13/32-16 stub acme |
.265 (6.6) |
.25 (6.3) |
| 7 |
TSR07-2X2 |
.190/.220 |
1.12 (28.0) |
.572 (14.5) |
13/32-16 stub acme |
.265 (6.6) |
.25 (6.3) |
| 7 |
TSR07-2X3 |
.240/.255 |
1.12 (28.0) |
.572 (14.5) |
13/32-16 stub acme |
.265 (6.6) |
.25 (6.3) |
| 12 |
TSR12-2X4 |
.230/.260 |
1.12 (28.0) |
.672 (17.1) |
1/2-16 stub acme |
.345 (8.6) |
.31 (7.8) |
| 12 |
TSR12-2X5 |
.275/.300 |
1.12 (28.0) |
.672 (17.1) |
1/2-16 stub acme |
.345 (8.6) |
.31 (7.8) |
| 12 |
TSR12-2X6 |
.335/.345 |
1.12 (28.0) |
.672 (17.1) |
1/2-16 stub acme |
.345 (8.6) |
.31 (7.8) |
 The TPW backshell gives strain relief with a nylon tie strap.
|
 The TPS series can be used as a sleeve for applying potting compound.
|
 The TKH option provides strain relief with aluminum cable clamp hardware.
|
 The THL backshell is a longer version of Viking's TKH series, providing strain relief with aluminum cable clamp hardware.
|
Non-Standard Backshell Dimensions
All dimensions in inches and (millimeters). Tolerance @ .010 (.25) unless otherwise specified.
|
NUMBER OF CONTACTS |
PART NUMBER |
A ±.010 |
B Dia. ±.010 |
C Thd ±.005 |
D ±.005 |
E Dia. ±.005 |
| 7 |
TKH07-1XO |
.71 (18.0) |
.51 (12.9) |
13/32-16 stub acme |
.23 (5.8) |
- |
| 7 |
TPS07-1X2 |
.90 (22.8) |
.50 (12.7) |
13/32-16 stub acme |
.18 (4.5) |
.25 (6.3) |
| 7 |
TPWO7-1X3 |
.90 (22.8) |
.50 (12.7) |
13/32-16 stub acme |
.18 (4.5 |
- |
| 7 |
THL07-1X5 |
1.46 (37.0) |
.51 (12.9 |
13/32-16 stub acme |
.30 (7.6) |
- |
| 12 |
TKH12-1XO |
.71 (18.0) |
.61 (15.5) |
1/2-16 stub acme |
.30 (7.6) |
- |
| 12 |
TPS12-1X2 |
.90 (22.8) |
.60 (15.2) |
1/2-16 stub acme |
.25 (6.3) |
.31 (7.8) |
| 12 |
TPW12-1X3 |
.90 (22.8) |
.60 (15.2) |
1/2-16 stub acme |
.25 (6.3) |
- |
| 12 |
THL12-1X5 |
1.48 (37.5) |
.61 (15.5) |
1/2-16 stub acme |
.34 (8.6) |
- |
| 24 |
TKH24-1X0 |
.71 (18.0) |
.81 (20.5) |
11/16-16 stub acme |
.34 (8.6) |
- |
| 24 |
TPS24-1X2 |
.90 (22.8) |
.80 (20.3) |
11/16-16 stub acme |
.31 (7.8) |
.37 (9.3) |
| 24 |
TPW24-1X3 |
.90 (22.8) |
.80 (20.3) |
11/16-16 stub acme |
.31 (7.8) |
- |
| 24 |
THL24-1X5 |
1.63 (41.4) |
.81 (20.5) |
11/16-16 stub acme |
.50 (12.7) |
- |
|
|
|